要闻
步进电动机的选择与计算
步进电动机的选择与计算
(眉山职业技术学院 四川 眉山 620020)
【摘 要】本文以C616车床改为开环式数控车床的设计计算,为根据车床参数,选择步进电动机提供了可靠易行的计算方法和步骤。
【关键字】转矩 转动惯量 负载起动性能
数控产品设计时,根据工作系统的力学模型,计算选择步进电动机或伺服电动机的规格型号,是进行数控产品设计的一个重要环节。因为电动机的参数决定着数控系统中各功能模块的性能参数,各功能模块都要与电动机相匹配,这里以用普通车床C616改为简易数控车床为例。说明步进电动机的计算过程。
1 c616车床的各参数
1.1改进后的传动系统
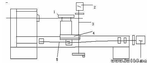
简易数控车床即开环式控制将c616车床的纵向进给系统常采用步进电动机驱动滚轴丝杆,带动装有刀架的拖板作往复直线运动。其工作原理如图
改进后的车床传动系统
1.小刀架 2.横向步进电动机 3.横向滚珠丝杆 4.大拖板
5.纵向滚珠丝杆 6.纵向步进电动机
1.2 各参数
1.2.1各拖板重量w=1500N
1.2.2拖板与导轨贴塑板间摩擦系数U=0.06
1.2.3 最大走刀抗力FZ(与运动方向相反)=1400N
1.2.4 最大主切削力FY(与导轨垂直)=2800N(最大走刀抗力和主切削力可根据普通C616车床的电动机功率和车削时车刀的主偏角为900 时计算而得出)
1.2.5 拖板进给速V1 =10~500毫米/分
1.2.6 车刀空行程速度V2 =200毫米/分
1.2.7 滚珠丝杆导程L=6毫米
1.2.8 滚珠丝杆节圆直径d0 =30毫米
1.2.9 丝杆总长L=1000毫米
1.2.10 定位精度0.01毫米
2 确定步进电动机的型号
2.1脉冲当量的选择
脉冲当量:一个指令脉冲使步进电动机驱动拖动的移动距离 =0。01mm/p(输入一个指令脉冲工作台移动0.01毫米)
初选之相步进电动机的步距角0.750 /1.50 ,当三相六拍运行时,步距角£=0.750 其每转的脉冲数S= =480 p/r
步进电动机与滚珠丝杆间的传动比i
i= = =1.25
在步进电动机与滚珠丝杆之间加Z1 =20,Z2 =25 模数m=2.5的一对齿轮。齿轮的模数根据c616车床,挂轮齿类比确定。
2.2 等效负载转矩的计算
2.2.1 空载时的摩擦转矩TLF
TLF = = =0.086N.M
2.2.2 车削加工时的负载转矩TL
TL =
=
=1.584N.M
u---- 摩擦系数
w----拖板重量
L----导程
i----传动比
FZ---最走刀抗力
Fy ------最大切削力(N)
----滚动丝杆传动效率
2.3 等效转动惯量计算
2.3.1滚珠丝杆的转动惯量Js
Js= Kg.m2
2
步进电动机的选择与计算
(眉山职业技术学院 四川 眉山 620020)
【摘 要】本文以C616车床改为开环式数控车床的设计计算,为根据车床参数,选择步进电动机提供了可靠易行的计算方法和步骤。
【关键字】转矩 转动惯量 负载起动性能
数控产品设计时,根据工作系统的力学模型,计算选择步进电动机或伺服电动机的规格型号,是进行数控产品设计的一个重要环节。因为电动机的参数决定着数控系统中各功能模块的性能参数,各功能模块都要与电动机相匹配,这里以用普通车床C616改为简易数控车床为例。说明步进电动机的计算过程。
1 c616车床的各参数
1.1改进后的传动系统
简易数控车床即开环式控制将c616车床的纵向进给系统常采用步进电动机驱动滚轴丝杆,带动装有刀架的拖板作往复直线运动。其工作原理如图

改进后的车床传动系统
1.小刀架 2.横向步进电动机 3.横向滚珠丝杆 4.大拖板
5.纵向滚珠丝杆 6.纵向步进电动机
1.2 各参数
1.2.1各拖板重量w=1500N
1.2.2拖板与导轨贴塑板间摩擦系数U=0.06
1.2.3 最大走刀抗力FZ(与运动方向相反)=1400N
1.2.4 最大主切削力FY(与导轨垂直)=2800N(最大走刀抗力和主切削力可根据普通C616车床的电动机功率和车削时车刀的主偏角为900 时计算而得出)
1.2.5 拖板进给速V1 =10~500毫米/分
1.2.6 车刀空行程速度V2 =200毫米/分
1.2.7 滚珠丝杆导程L=6毫米
1.2.8 滚珠丝杆节圆直径d0 =30毫米
1.2.9 丝杆总长L=1000毫米
1.2.10 定位精度0.01毫米
2 确定步进电动机的型号
2.1脉冲当量的选择
脉冲当量:一个指令脉冲使步进电动机驱动拖动的移动距离 =0。01mm/p(输入一个指令脉冲工作台移动0.01毫米)
初选之相步进电动机的步距角0.750 /1.50 ,当三相六拍运行时,步距角£=0.750 其每转的脉冲数S= =480 p/r
步进电动机与滚珠丝杆间的传动比i
i= = =1.25
在步进电动机与滚珠丝杆之间加Z1 =20,Z2 =25 模数m=2.5的一对齿轮。齿轮的模数根据c616车床,挂轮齿类比确定。
2.2 等效负载转矩的计算
2.2.1 空载时的摩擦转矩TLF
TLF = = =0.086N.M
2.2.2 车削加工时的负载转矩TL
TL =
=
=1.584N.M
u---- 摩擦系数
w----拖板重量
L----导程
i----传动比
FZ---最走刀抗力
Fy ------最大切削力(N)
----滚动丝杆传动效率
2.3 等效转动惯量计算
2.3.1滚珠丝杆的转动惯量Js
Js= Kg.m2
2.3.2拖板的运动惯量
Jw= kg.m2
2.3.3大齿轮的转动惯量Jg2(大齿接圆直径62.5毫米 宽10毫米)
Jg2 = kg.m2
2.3.4小齿轮的转动惯量Jg1(小齿接圆直径50毫米 宽12毫米)换算系列电机轴上的总转动惯量JL
kg.m2
换算到电动机轴上的总转动惯量JL
=
=7.33 10-4 Kg.m2
2.4 初选步进电动机型号
根据车削时负载转距TL=1.58N.M和电动机总转动惯量JL=7.33x10-4,,初步选定电动型号为110BF003反应式步进电动机。该电动机的最大静扭距Tmax=8.1N.M,转子转动惯量 Jm=4.7 10-4kg.m2
为了使步进电动机具有良好的起动能力及较快的响应速度应为:
及
空载时起动时间计算(ta)
110BF003步进电动机的最小加、减速度时间为1秒
2.4.1带惯性负载的最大起动频率fL的计算
电动机空载起动频率
2.4.2带惯性负载的最大转速
转/分
2.4.3带惯性负载起动力矩Tm电动机起动矩------频率特性曲线
Tm=2.6N.M
2.4.4 负载时起动时间ta
ta=
该电机带惯性负载时能够起动
2.5速度验算
2.5.1 空行程快速移动速度的验算
从电动机的运行矩----频率特性曲线查得fmax=6000HZ时,电动机转矩0.9N.M>TLF=0.086N.M(空载时的摩擦转矩)
2.5.2工作行程速度计算
当T =1.584N.M时,电动机对应频率f 3000HZ
以上计算,选该型号步进电动机,无论是起动性能,还是空行程快速进给,还是工作行进给速度都能满足c616车床的设计要求
3 结论
3.1 根据普通车床的电机和切削速度计算出最大切削力和走刀抗力
FC= FZ (车刀主偏角900,零件材料45#钢)
3.2 计算出空载时摩擦转矩TLF 和加工时负载转矩TL
3.3 计算机械传动系统换算到电机轴上的总惯量JL
3.4初选步进电动型号:
TM
3.5校核电动机起动性能,验算空行程速度和工作行程速度
选定步进电动机后,步进电动机的性能参数,为数控系统,特别是输出接口,驱动电源模块型号的选择提供依据。
【参考文献】
(补充完整)格式要求:作者.书名.出版社名称.出版日期.
【1】机电一体化产品设计.
【2】数控车床原理.
【3】金属切削手册.
【4】工程力学.
【5】机械设计手册.
- 上一篇:如何做一名出色的设计总监
- 下一篇:蜗轮蜗杆配对