要闻
切削件结构设计:便于刀具引入
时间:2020-10-19 15:40 阅读:
切削件结构设计:便于刀具引入
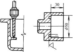
图 例 说明 
不合理 合理 改进后,孔远离侧壁,不需要专用钻头;改进后,刀具易于接近凹槽加工面,不需要专用刀具 
不合理 合理 改进后,设计了工艺孔或工艺槽,刀具易于接近钻孔面;改进后,设计了工艺孔或凸缘结构,刀具易于接近钻孔面
- 上一篇:切削件结构设计:便于退刀
- 下一篇:高强度螺栓断裂原因
切削件结构设计:便于刀具引入
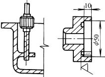
图 例 说明 
不合理 合理 改进后,孔远离侧壁,不需要专用钻头;改进后,刀具易于接近凹槽加工面,不需要专用刀具 
不合理 合理 改进后,设计了工艺孔或工艺槽,刀具易于接近钻孔面;改进后,设计了工艺孔或凸缘结构,刀具易于接近钻孔面